Skip to main content

Simple to Specify Clamp icon Easy to Order Clamp icon Rapid to Assemble

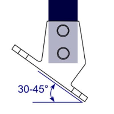
251 - Slope Base Flange (30°- 45°)

Base flange for sloping sites, adjustable from 30° to 45°. As the fixing holes in the base cannot be fixed in line with the applied load, it is only intended for light loads or structures which are sufficiently supported by virtue of their design. Where a greater load is required, type 132 is normally used, with the upright tube bent to the required angle.

Fixing holes suit a wide range of common mechanical and chemical masonry anchors which we should be pleased to quote for on request. The dimensions of the base are designed to be compatible with many traditional welded ball standard bases to allows easy interchangeability.

Dane i wymiary produktu

Rozmiar a (mm) b (mm) c (mm) Waga (kg) Box Qty* Part No
  B34   172   65   126   1.05   24   251-B34
  C42   172   65   126   1.23   20   251-C42
  D48   172   65   126   1.30   22   251-D48

* Fittings are sold individually and do not need to be bought in box quantities. Box quantities may be subject to change without prior notice.

Figures given as guidance only, dimensions and weights are subject to manfacturing tolerances and may be altered without prior notice.

Do not perform any pre-drilling, tube cutting, casting uprights or any other dimensionally critical processes prior to receiving fittings.

Dowiedz się więcej o tym, w jaki sposób ta witryna wykorzystuje pliki cookie, aby poprawić komfort przeglądania stron. Dowiedz się więcej